| নির্বাচিত পোস্ট | লগইন | রেজিস্ট্রেশন করুন | রিফ্রেস |
ন্যানো পার্টিকেল দিয়ে আপনার শরীরের কোষ কে বাইরে থেকে নিয়ন্ত্রণ করা হবে। ইনজেকশন দিয়ে ন্যনো পার্টিকেল আপনার শরীরের ঢোকানো হবে।
হবে হবে করছি কি!
কোভিড্ ভ্য** ক* সি* ন এ কিছু ছিল না তো?
Ferritin nanoparticle compositions and methods to modulate cell activity
Abstract
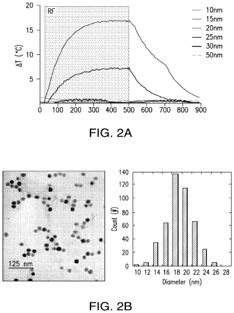
The present invention provides methods and compositions for the remote control of cell function based on the use of radiofrequency waves to excite nanoparticles targeted to specific cell types. The nanoparticles may be applied to the target cell extracellularly and/or expressed intracellularly. The cell type of interest expresses a temperature sensitive channel wherein excitation of the nanoparticles results in a localized temperature increase that is transduced into a cellular response. Such cellular responses may include, for example, increases in gene expression resulting in production of one or more physiologically active proteins. The expression of such proteins can be used to treat a variety of different inherited or acquired diseases or disorders in a subject. Accordingly, the invention provides a generic approach for treatment of any disease associated with a protein deficiency.

©somewhere in net ltd.